Panabit Support Board!

 找回密码
 注册

QQ登录

只需一步,快速开始

查看: 1363|回复: 1

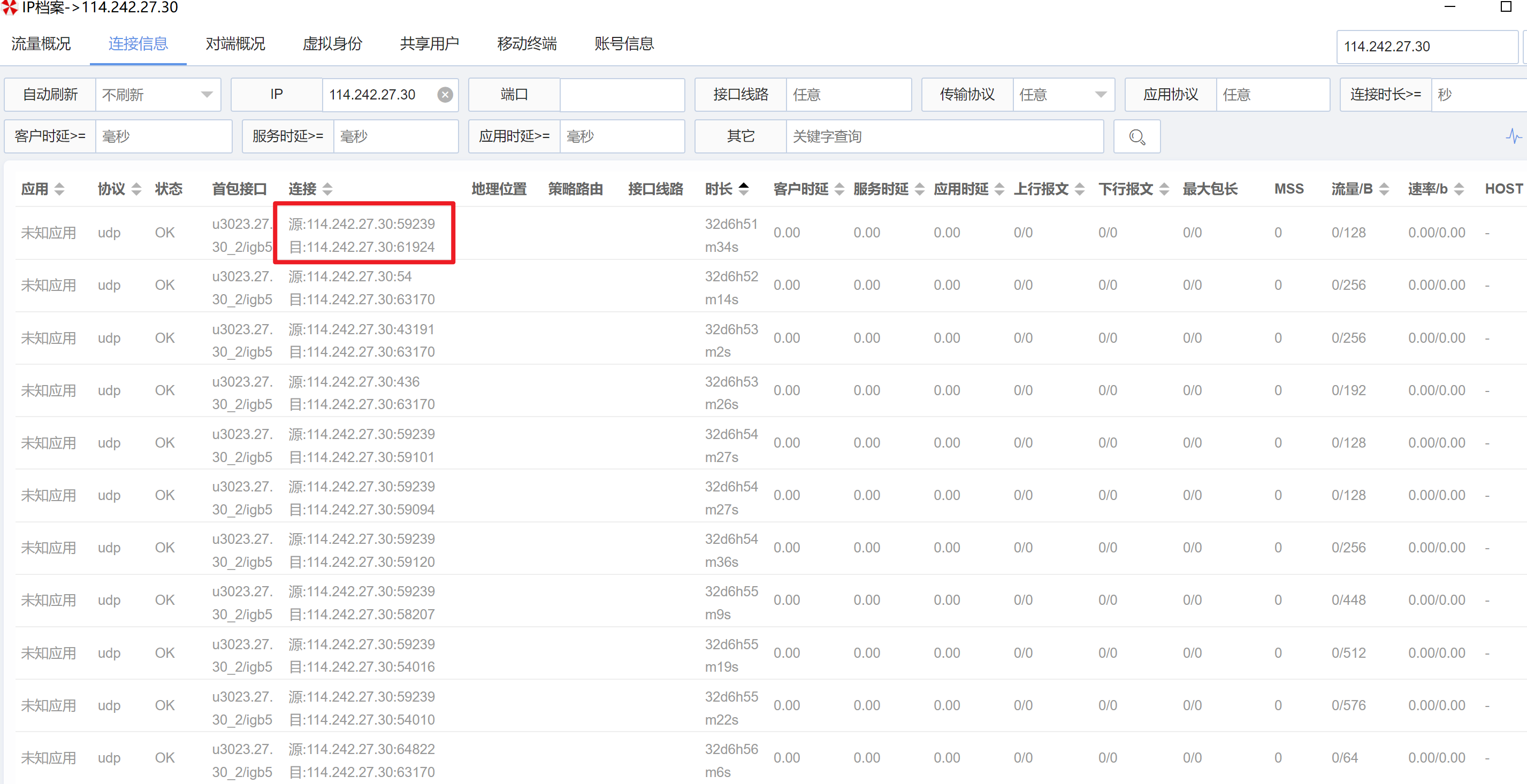
删不掉的udp连接,外网ip在所有用户里面自己访问自己

[复制链接]
发表于 2026-1-6 21:34:37 | 显示全部楼层 |阅读模式
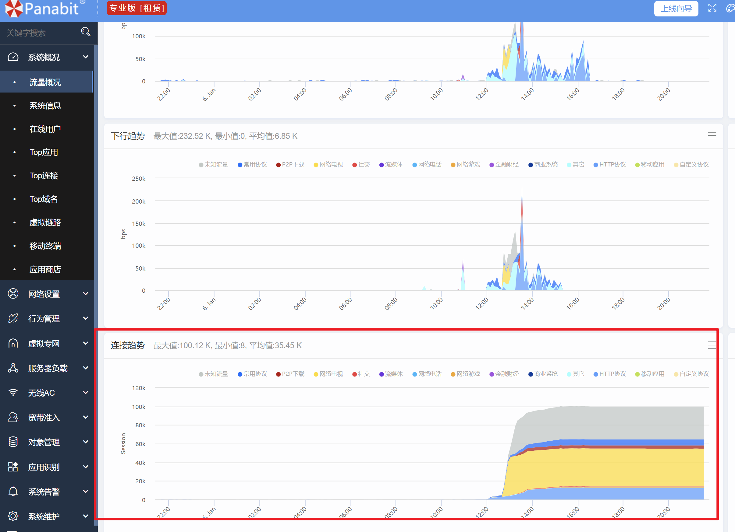
求助这是bug吗,重启设备可以恢复,但是很多设备因为业务原因不能重启,linx的、专业版官方设备都有这个问题。今天ipv6也出现了类似问题,如图所示,在连接控制里面限制1,在流量控制里面阻断均不管用,没有命中
22.png
111.png
444.png
3333.png
555.png
666.png
7777.png
555555.png
Snipaste_2026-01-06_21-34-05.png
发表于 2026-1-7 00:48:45 | 显示全部楼层
这个是什么IP用户?把NPM打开分析下看看 抓包工具抓下包看看 联系400-773-3996 找下我王鹏。
您需要登录后才可以回帖 登录 | 注册

本版积分规则

QQ|Archiver|手机版|小黑屋|北京派网软件有限公司 ( ICP备案序号:京ICP备14008283号 )

GMT+8, 2026-1-21 04:57 , Processed in 1.164952 second(s), 18 queries .

Powered by Discuz! X3.4

© 2001-2023 Discuz! Team.

快速回复 返回顶部 返回列表